产品展示

Product

弧形格栅除污机

2019-07-23

  弧形格栅除污机由弧形栅条 、齿耙臂及其支座 、机架、带过扭保护机构的驱动装置 、具有缓冲作用的撇渣耙和导渣板以及控制柜等组成 。

  耙臂在驱动装置带动下绕弧形栅条中心回转,当齿耙进入栅条间距后,即开始除污动作,被栅条拦截的渣沿栅条上移,当齿耙触及撇渣耙后,渣在齿耙和撇渣板相对运动的作用下,把栅渣撇出并经导渣板卸至输送器,完成一个除污动作,而齿耙在越过撇渣后,撇渣耙在缓冲器的作用下缓慢复位。这种格栅除污机适用于细格栅或较细的中格栅,其结构紧凑,动作简单规范,但是对栅渣的提升高度有限,不适于在较深的格栅井中使用 。

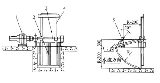
  弧形格栅除污机主要用于较浅的沟渠 ,栅条间距 5-40mm , 分为旋臂式和摇臂式。旋臂式弧形格栅除污机结构示意图见图1,摇臂式格栅除污机及其结构示意图见图2

  图1 旋臂式弧型格栅除污机及其结构示意图

  1—驱动装置 ;2—弧形栅条 ;3—主轴;4—齿耙装霓 ;5—卸料机构

  图2 摇臂式弧型格栅除污机及其结构示意图

联系我们

Contact

江苏泰东环保工程有限公司

地点:江苏省宜兴市西郊工业园(徐舍镇立通路)

邮编:214200

电话:0510-87969966    18936059999

传真:0510-87053377

邮箱:td6288@126.com